SP45F Digital Lock Balance Valve
Product overview
Product model: SP45F
Nominal diameter: DN15~350mm
Nominal pressure: PN1.6~2.4MPa
Applicable temperature: ≤120℃
Main material: gray cast iron, ductile cast iron, cast steel
Flange standard: GB/T17241.6GB/T9113
Test standard: GB/T13927API598
SP45F Digital Lock Balance Valve product overview
SP45F, SP15F Digital Locking Balance Valve is a kind of regulating valve with special function of digital lock. It adopts DC type valve body structure with better equal percentage flow characteristics, which can rationally distribute the flow rate and effectively solve the problems of heating (air conditioning) Room temperature uneven hot and cold problems exist in the system. At the same time can accurately adjust the pressure drop and flow, to improve the system of liquid flow in the pipe network system to achieve network liquid balance and save the source of purpose. The valve is provided with an opening degree indication, an opening degree locking device and a small pressure measuring valve used for flow measurement. As long as the proper balance valve is installed at each branch and user entrance and locked with a special intelligent instrument after one-time debugging, The total system of water control in a reasonable range, thus overcoming the "big flow, small temperature difference" unreasonable phenomenon. This product is ideal for heating systems. Can be installed on the water supply pipe, can also be installed on the return pipe, generally we recommend to install the return pipe, especially for high temperature loop, to facilitate debugging, but also installed in the return pipe, the installation of a balance valve for ( Back) Water pipes do not need to set stop valve.
SP45F Digital Lock Balance Valve components and materials
| Part Name | Body, bonnet | Valve stem | Disc | Gasket |
| material | Gray cast iron, ductile iron, cast steel | stainless steel | Ductile iron | Rubber asbestos board |
SP45F Digital Lock Balance Valve main technical parameters
| Nominal pressure (MPa) | Shell test pressure (MPa) | proper temperature | Suitable media | Characteristic curve | Installation and use of the range |
| 1.6 | 2.4 | ≤120 ℃ | Water, oil and other non-corrosive liquids | Equal percentage | Pipe network system backbone, branch dry, indoor water mains, branch risers and multiple boilers |
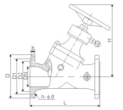
SP45F Digital Lock Balance Valve main connection size

| Model | Nominal diameter (mm) | Size (mm) | |
| L | H | ||
| SP15F-25 | 15 | 100 | 128 |
| 20 | 115 | 128 | |
| 25 | 125 | 130 | |
| 32 | 140 | 150 | |
| 40 | 160 | 187 | |
| SP45F-16/25 | 32 | 180 | 230 |
| 40 | 200 | 242 | |
| 50 | 230 | 250 | |
| 65 | 290 | 260 | |
| 80 | 310 | 329 | |
| 100 | 350 | 340 | |
| 125 | 400 | 424 | |
| 150 | 480 | 454 | |
| 200 | 550 | 517 | |
| 250 | 622 | 573 | |
| 300 | 698 | 617 | |
| 350 | 787 | 705 | |
Reminder:
All text, data and pictures in this article are for reference only.To see more details of the SP45F Digital Lock Balance Valve performance parameters, structural dimension parameters, pricing, etc., or to request high quality printing samples, please Contact us.